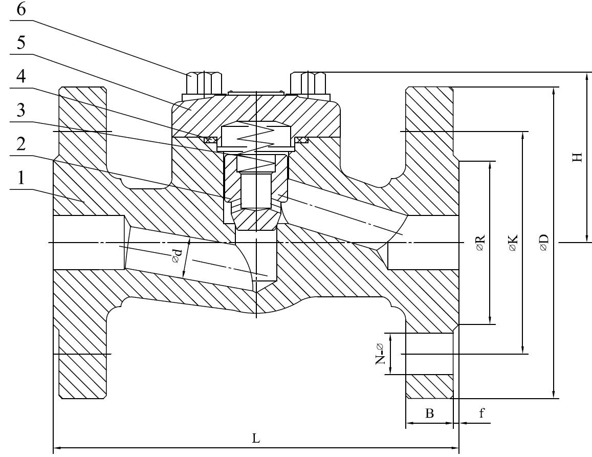
Lift Check Valve ANSI cl. 150 / 800 – Serie 430
Features overview
– Body material A182-F316, A105, forged material
– Face to Face dimension acc. ASME or
manufacturer standard
– flanged ends acc. ASME B16.5 or socket welded
ends acc. to ASME B16.11
– Testing acc. to API 598
– Temperature range –40°C up to 400°C for A182
and –20°C up to 350°C for A105 and
Cryogenic for –196°C for A350-LF2
Lift-Check Valve made of stainless steel or cast steel in straightway form.












